Замена крестовины карданного вала: как узнать, что пора?

Так как в основе крестовины заложен игольчатый подшипник, именно он чаще всего служит причиной поломки всей детали. Он начинает стучать и издавать другие характерные износу звуки. Многие водители долгое время не замечают их, либо попросту игнорируют. Так поступать нельзя ни в коем случае, ведь неисправная крестовина нарушит функционирование всего карданного вала, а это чревато возникновением дорожно-транспортного происшествия.
В следующих трех случаях замену крестовины карданного вала нужно заменить как можно раньше:
- В ходе визуальной диагностики было обнаружено частичное или полное разрушение детали
- Во время движения в салоне наблюдается вибрация, набирающая большую силу с увеличением скорости движения
- Различные шумы, доносящиеся из трансмиссии автомобиля
Иногда люфт можно не заметить даже при изношенном подшипнике. В таком случае необходимо отсоединить карданный вал от фланца шестерни, после чего визуально оценить состояние механизма. Также во время демонтажа конструкции на составных частях необходимо оставлять сопутствующие метки, чтобы избежать серьёзных ошибок во время её сборки.
Ремонт карданной передачи ГАЗ 2705
Снятие карданной передачи с автомобиля
|
|
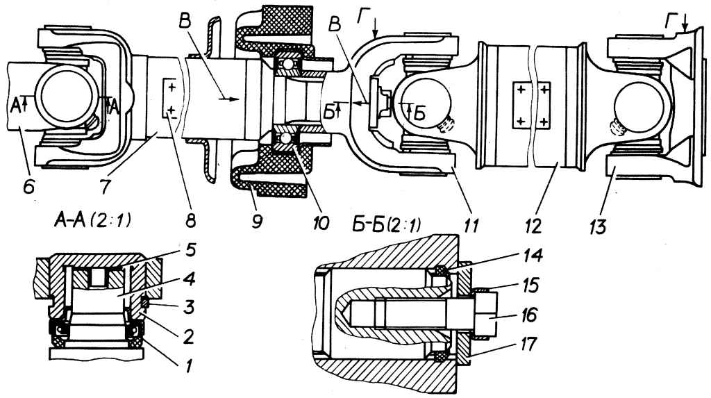
Рис. 5.28. Карданная передача с промежуточной опорой: Г — место допустимых ударов при сборке; 1 — манжета; 2 — игольчатый подшипник; 3 — стопорное кольцо; 4 — крестовина; 5 — торцевая шайба; 6 — скользящая вилка; 7 — масленка; 8 — балансировочная пластина; 9 — подушка опоры; 10 — подшипник промежуточной опоры; 11 — шлицевая вилка; 12 — задний карданный вал; 13 — фланцевая вилка; 14 — кольцо уплотнительное; 15 — стопорная пластина; 16 — болт; 17 — шайба |
Перед снятием карданной передачи необходимо сделать метки взаимного углового положения скользящей вилки и вала коробки передач. Метки удобно делать краской на отражателе скользящей вилки и удлинителе коробки передач. Затем очистить от грязи выступающую резьбовую часть болтов крепления к фланцу заднего моста и отвернуть их. Отвернуть гайки крепления промежуточной опоры и освободить ее от поперечины рамы. После этого надо сдвинуть карданную передачу вперед, отсоединить ее от фланца моста. Для облегчения этой операции при необходимости можно ударить молотком через медную прокладку по фланцу заднего шарнира в месте, обозначенном буквой А (см.
|
Рис. 5.30. Разборка карданного шарнира: 1 — кольцо; 2 — фланец шарнира; 3 — оправка; 4, 6 — подшипники; 5 — пресс-масленка |
После снятия колец выпрессовать подшипники в тисках, как показано на 
|
Рис. 5.31. Последовательность сборки карданного шарнира: 1 — кольцо; 2 — стопорное кольцо |
— вставить подшипники в отверстия вилки, частично надев их на шипы, и, вращая крестовину в разные стороны (рис. 5.31 А), плавно сдвинуть подшипники до упора (рис. 5.31 В);
— легким ударом молотка установить стопорное кольцо 2 в канавку подшипника. При этом кольцо необходимо придерживать, так как возможно его вылетание из канавки;
— поставить кольцо-оправку 1 на внешний торец ушка вилки с застопоренным подшипником (рис. 5.31 С) и допрессовать крестовину с подшипниками до упора стопорного кольца в подшипник и вилку, затем вставить второе стопорное кольцо;
— собрать вторую половину шарнира в той же последовательности.
У собранного шарнира не должно быть заеданий и переменного усилия проворачивания. Момент проворачивания шарниров не должен превышать 2 Н·м (0,2 кгс·м). Если шарниры тугие, нужно несколько раз ударить молотком в местах, обозначенных буквой А (см. рис. 5.28);
Промежуточная опора собирается в следующем порядке:
— запрессовать подшипник в обойму до упора, прилагая усилие к наружному кольцу подшипника;
— обойму с подшипником установить во внутреннюю полость подушки промежуточной опоры;
— промежуточную опору с подшипником установить на шлицевой конец до упора в буртик, прилагая усилие к торцу обоймы подшипника;
— вложить в канавку шлицевой вилки уплотнительное кольцо;
— установить шлицевую вилку 11 на шлицы хвостовика по ранее нанесенным меткам;
— болт 16 с надетыми на него стопорной пластиной 15 и шайбой 17 ввернуть на 2-3 нитки резьбы в торец шлицевого конца промежуточного вала; установить шайбу 17 в прорезь шлицевой вилки 11 так, чтобы овальное отверстие шайбы 17 было параллельно оси отверстий ушек вилки;
— разместив фиксирующий усик стопорной пластины 15 в овальном отверстии шайбы 17, прижать пластину шайбе и довернуть болт 16, затянув его моментом 40-45 H·м (4,0-4,5 кгс·м).
— застопорить болт 16, отогнув на грани его головки лепестки стопорной пластины 15;
— проверить легкость вращения подшипника промежуточной опоры, устранив при необходимости причину задевания деталей;
— застопорить болт 16, отогнув на грань его головки лепестки стопорной пластины 15.
После сборки карданной передачи необходимо произвести ее динамическую балансировку.
Установка карданной передачи на автомобиль
Первоначально необходимо вставить скользящую вилку переднего шарнира в удлинитель коробки передач. Фланец заднего шарнира соединить с фланцем ведущей шестерни заднего моста и затянуть резьбовое крепление моментом 27-30 Н·м (2,7-3,0 кгс·м). Промежуточную опору установить на поперечину рамы и, убедившись в отсутствии ее перекоса относительно продольной оси автомобиля, затянуть гайки моментом силы 12-18 Н·м (1,2-1,8 кгс·м).
Крепление промежуточной опоры к поперечине производить только на стоящем на колесах автомобиле.
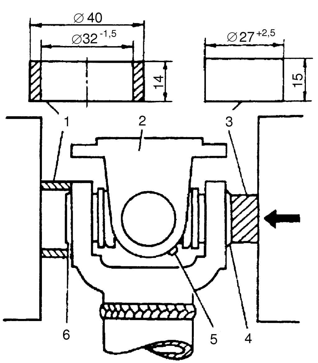
Размеры сопрягаемых деталей карданной передачи приведены в табл. 5.4.
Таблица 5.4. Размеры сопрягаемых деталей карданной передачи, мм

Видео про «Ремонт карданной передачи» для ГАЗ 2705
Замена крестовины кардана
Причина вибрации кардана и кпп газель бизнес
Замена крестовин кардана Газель 3302.Replacement of details the Gazelle 3302.
Неисправности
Отказ КП характеризуется непонятными звуками, во время движения машина движется рывками, слышен металлический звук при переключении скоростей.
Основными неисправностями КП являются:
- люфт в шарнирах;
- деформация карданного вала. Эта неисправность возникает от удара камня или при наезде на выступающее препятствие;
- повреждение сальников или их выработка;
- повреждение защитных чехлов;
- износ игольчатых подшипников;
- ослабление соединений механизмов.
Все возникшие дефекты легко устраняются специалистами автосервиса. Неисправные элементы меняются на новые, а ослабленные соединения подтягиваются.
Важно! Автолюбителю не следует эксплуатировать машину с неисправной КП. Это может привести к аварийной ситуации
Если неисправна крестовина, наиболее правильным решением будет транспортировать автомобиль на эвакуаторе в автосервис, где произведут диагностику машины с помощью специальных стендов, определят неисправную деталь и предложат оптимальный вариант ремонта.Важно! Некоторые владельцы стараются произвести диагностику в автосервисах, расположенных в гаражных кооперативах. Как правило, там нет персонала, а один специалист не в состоянии знать все тонкости ремонта
Гаражные автосервисы не имеют оборудования для проведения диагностики неисправности автомобиля. В результате качественно провести обследование не представляется возможным. И результат такой диагностики непредсказуем.
Поэтому автолюбителям не следует обращаться в такие автосервисы. Кажущаяся экономия на ремонте оборачивается дополнительными, а зачастую и не малыми расходами.Наш автосервис при выполнении работ пользуется методиками, разработанными на заводах-изготовителях. После проведения любых ремонтных работ автолюбитель получает гарантийные обязательства на запасные части и все виды услуг и ремонта.
Назначение и устройство карданного вала ВАЗ 2107
Карданный вал — механизм, соединяющий коробку передач с редуктором заднего моста и предназначенный для передачи крутящего момента. Наибольшее распространение передача такого типа получила на автомобилях с задним и полным приводом.
Устройство кардана
Карданный вал ВАЗ 2107 состоит из следующих элементов:
- одна или несколько секций из тонкостенной полой трубы;
- шлицевое раздвижное соединение;
- вилка;
- крестовина;
- подвесной подшипник;
- элементы крепления;
- задний подвижный фланец.
Карданный вал ВАЗ 2107 имеет довольно простое устройство
Карданная передача быть одновальной или двухвальной. Второй вариант предполагает использование промежуточного механизма, к задней части которого прикреплён хвостовик со шлицами снаружи, а на передней через шарнир зафиксирована скользящая втулка. В одновальных конструкциях промежуточный участок отсутствует.
Передняя часть кардана крепится к коробке передач через подвижную муфту на шлицевом соединении. Для этого на конце вала есть отверстие с внутренними шлицами. Устройство кардана предполагает продольное перемещение этих шлицов в момент вращения. Конструкцией также предусмотрен подвесной подшипник, прикреплённый с помощью кронштейна к кузову. Он является дополнительной точкой крепления кардана и предназначен для ограничения амплитуды его движения.
Между средним и передним элементом карданного вала расположена вилка. Вместе с крестовиной она передаёт крутящий момент при изгибе кардана. Задняя часть вала прикреплена к редуктору заднего моста через фланец. Хвостовик посредством внешних шлицов входит в зацепление с фланцем главной передачи.
Кардан является унифицированным для всех классических моделей ВАЗ.
Устройство крестовины
Крестовина ВАЗ 2107 предназначена для совмещения осей кардана и передачи момента при изгибе его элементов. Шарнир обеспечивает соединение вилок, прикреплённых к концам механизма. Основным элементом крестовины являются игольчатые подшипники, благодаря которым кардан может двигаться. Эти подшипники вставляются в отверстия вилок и фиксируются стопорными кольцами. При износе шарнира карданный вал начинает стучать во время движения. Изношенная крестовина всегда меняется на новую.
Брагодаря крестовине становится возможным вращение кардана под разными углами
Виды карданных валов
Карданные валы бывают следующих типов:
- с шарниром равных угловых скоростей (ШРУС);
- с шарниром неравных угловых скоростей (классическая конструкция);
- с полукарданными упругими шарнирами;
- с жёсткими полукарданными шарнирами.
Классический кардан состоит из вилки и крестовины с игольчатыми подшипниками. Такими валами оснащается большая часть заднеприводных автомобилей. Карданы со ШРУСами обычно устанавливаются на внедорожниках. Это позволяет полностью устранить выбрацию.
Существует несколько видов карданов: на ШРУСах, с упругими и жесткими шарнирами
Механизм с упругими шарнирами состоит из резиновой муфты, способной передавать крутящий момент при углах не более 8˚. Так как резина довольно мягкая, кардан обеспечивает плавное начало движения и предотвращает резкие нагрузки. Такие валы не нуждаются в техническом обслуживании. Жёсткий полукарданный шарнир имеет сложную конструкцию, предполагающую передачу крутящего момента благодаря зазорам в шлицевом соединении. Такие валы имеют ряд недостатков, связанных с быстрым износом и сложностью изготовления, и в автомобильной индустрии не используются.
Шрусовый кардан
Несовершенство конструкции классического кардана на крестовинах проявляется в том, что при больших углах возникают вибрации и теряется крутящий момент. Карданный шарнир может отклониться максимум на 30–36˚. При таких углах механизм может заклинить или совсем выйти из строя. Этих недостатков лишены карданные валы на ШРУСах, обычно состоящие из:
- шариков;
- двух колец (наружного и внутреннего) с канавками для шариков;
- сепаратора, ограничивающего движение шариков.
Максимально возможный угол наклона кардана такой конструкции составляет 70˚, что заметно выше, чем у вала на крестовинах. Существуют и другие конструкции шрусовых карданов.
Шрусовой кардан позволяет передавать крутящий момент под большими углами
Карданный вал и его крестовина – почему они так важны
Карданный вал – в простонародье просто кардан – является важной частью трансмиссии в конструкции заднеприводных и полноприводных автомобилей. Его задача – передача крутящего момента под углом. Также его называют еще «опорой автомобиля», так как он предоставляет необходимую для правильного функционирования жесткость
Также его называют еще «опорой автомобиля», так как он предоставляет необходимую для правильного функционирования жесткость.

Кардан представляет собой две полые трубы, соединенные с помощью крестовины. Крестовина – это сердце карданного вала, потому что именно она отвечает за передачу вращения. По сути, это – шарнир в виде креста, который совершает движение за счет подшипников. Кроме своих главных функций, она помогает автомобилю сохранять баланс на неровной дороге и гасит сопротивление кардана.
Карданный вал в целом и крестовина в частности – это сердце трансмиссии. Эти устройства обеспечивают плавный и ровный ход транспортного средства, чувствительное управление и комфортную езду. Их выход из строя чреват многими неприятностями: ослабление крепления, люфт между двумя валами и увеличение нагрузки на крестовину могут привести к обрыву вала и, как следствие, к аварийной ситуации. Как не допустить этого и вовремя заметить проблему?
Причины и признаки неисправности
Обычно подшипники сами сообщают, когда их нужно починить или поменять. Звук подвесного подшипника сигнализирует о поломке. Он может подавать следующие сигналы:
- Разнообразные стуки и шумы, такие как гул, гудение или хруст;
- Вибрация, например, биение или дёргание;
- Люфт подвесного подшипника, если он подвергается визуальному осмотру.
Если Вы слышите, что гудит подвесной подшипник, нужно как можно скорее обратиться в автосервис.
Как правило, подобные элементы карданного вала не выходят из строя сами по себе. Ломаются они по следующим причинам:
- Естественный износ элемента
конструкции, постепенное разрушение резины, которая удерживает подшипник.
- Особенности эксплуатационных условий, например, пониженный или повышенный температурный режим, попадание на подшипник грязи и пыли, передвижение по пересечённой местности, жёсткое переключение передач, повышенные нагрузки.
- Ошибка при монтаже, которая легко допускается, если работает не опытный человек.
- Пониженные качественные характеристики используемых компонентов. Дело в том, что устанавливаемые запчасти должны быть оригинальными либо хорошо зарекомендовать себя на рынке.
Важно! Если водитель попытается исключить в процессе эксплуатации максимальное количество причин, то он может не сомневаться, что деталь прослужит ему очень долго
Что это такое
Начнём с основного назначения карданной передачи или вала. Это даст вам возможность окончательно понять, что же такое этот кардан и зачем он нужен в машине.
Это механизм, предназначенный для передачи вращения от коробки передач на редуктор. Вращение передаётся на редуктор передней или задней оси, что уже напрямую зависит от конкретного автомобиля и особенностей его устройства. Это промежуточный элемент, играющий при этом крайне важную и значимую роль в трансмиссии.
Карданные передачи могут применяться не только на заднеприводных и полноприводных автомобилях, но также присутствуют в мотоциклах. Если говорить простыми словами относительно того, что такое карданный вал, то его можно охарактеризовать как устройство для передачи вращения от КПП на ведущую ось. Этот механизм позволяет обеспечить независимое от кузова автотранспортного средства движение для колёс и подвески.
Не все до конца понимают, для чего нужен карданный вал в составе автомобильной конструкции. Такое приспособление становится практически незаменимым, когда машина выезжает на пересечённую местность. Когда автотранспорт движется по неровным поверхностям, возникают достаточно сильные колебания на ведущих мостах, раме и кузове.

А когда происходят даже незначительные смещения осей относительно друг друга, это существенно повышает износ элементов. Как результат, в машине нарушается плавность хода, которая самым непосредственным образом влияет на комфорт. За счёт наличия и работы карданной передачи все эти явления удаётся предотвращать.
Некоторые автотранспортные средства устроены таким образом, что коробка передач располагается выше, чем редуктор заднего моста. Из-за этого момент вращения приходится передавать под определённым углом. Реализовать такую передачу вращения становится возможным за счёт использования в конструкции карданной передачи или карданного вала.
Как смазать крестовину кардана
Крестовина представляет собой две перекрестно соединенные трубки с закладными проточками на концах. Смазывающий материал проникает к игольчатым роликам через внутреннюю полость, но чтобы в нее внедрить смазку, нужно выполнить некоторые действия. Производители крестовин на этот счет изготовили масленки. Они представлены штуцерами с небольшим отверстием посередине. Внутри находится шарик, выполняющий роль клапана. Когда через штуцер смазка подается в крестовину, то обратно она не выталкивается за счет встроенного клапана.

Процедура смазки крестовины карданного вала
Шприцевать крестовины нужно при помощи специального шприца, отчего и произошло название этой процедуры. В общем, она выглядит так:
- Нужно взять, собственно, сам шприц для шприцовки крестовин.
- Заполнить его смазкой. Напомним, она должна быть синей, это ее отличительные особенности. Для этого откручивается крышка с рычагом, куда заталкивается вещество. Не обязательно наполнять его полным, так как в крестовины нужно немного.
- На шприце имеется ручной поршень, который вы можете сдвинуть в любое положение для ограничения пространства для смазки. Он нужен для того, чтобы можно было выполнять смазывание даже тогда, когда в нем уже осталось совсем мало смазки.
- При помощи специального шланга с насадкой выполняют прокачку крестовины. Есть модели, оснащенные накручивающимися элементами, что облегчает процесс смазывания, так как не придется усердно прижимать шприц к штуцеру. Если нет такого приспособления, то во время шприцевания инжектор нужно сильно прижимать к масленке на крестовине и одновременно нажимать на рычаг пистолета.
Прокачивать смазку необходимо до того момента, пока вы не станете ощущать усилие, оказывающее противоположное воздействие на инжектор. Переусердствовать тоже не рекомендуется, потому что лишняя смазка выдавится через подшипник или саму масленку наружу.
Что используется для шприцевания крестовин
Для выполнения шприцевания крестовины на кардане сначала нужно обеспечить приемлемые условия для работы. Необходимо поднять машину на подъемнике или иным способом, обеспечив максимальный доступ к его кардану и всем механизмам. В данном случае нужно добраться до крестовин, которые могут располагаться как спереди, так и сзади детали. С одной из сторон обычно крайне сложно выполнить заправку масленки из-за ограниченности пространства. Для этого в автомастерских применяют шприцы с удлинителями и гибкими насадками.

Шприц представляет собой специализированное приспособление, которое оснащено баллоном. Внутри имеется поршень с рукояткой. С обратной стороны расположен ручной насос с рычагом и инжектором. Желательно иметь в наборе удлинитель и переходник для удобства выполнения процедуры смазывания крестовин в труднодоступных местах.
Сравниваем смазочные материалы для обслуживания шкворней
EFELE MG-212
1 место
EFELE MG-212
/100
РЕЙТИНГ
100
EFELE MG-212 – лучшая пластичная смазка для шкворней. В ее состав входит высококачественное минеральное масло, загущенное литиевым мылом, а также противозадирные присадки и дисульфид молибдена. Диапазон рабочих температур от -30 до +120 °C.
Помимо шкворней материал применяется в узлах ходовой части транспортной техники, работающей в тяжелых условиях.
Подходит для узлов оборудования деревообрабатывающей, полимерной промышленности, металлургии и других отраслях, а также тяжелонагруженных подшипников общепромышленных машин, подшипников электрических двигателей и вентиляторов.
EFELE MG-212 устойчива к вымыванию водой, отлично защищает от износа и коррозии, выдерживает воздействие ударных нагрузок. Она положительно зарекомендовала себя при работе во влажной и запыленной среде, а также выполняет функцию антиаварийной смазки.
Данная смазка обладает самыми высокими эксплуатационными характеристиками среди всех представленных материалов и доступной стоимостью.
Molykote BR2 Plus
2 место
Molykote BR2 Plus
/100
РЕЙТИНГ
100
Molykote BR2 Plus – литиевая смазка на основе минерального масла. Обеспечивает долговременное смазывание узлов различной техники и промышленного оборудования Диапазон рабочих температур от -30 до +130 °C.
Кроме шкворней может использоваться в других элементах ходовой части подъемно-транспортных машин и узлов трения промышленного оборудования.
Материал отличается высокой несущей способностью, высокими противоизносными и антикоррозионными характеристиками, работает в условиях влаги и пыли, обладает свойствами антиаварийной смазки. Она не вымывается водой, предотвращает скачкообразное движение, фреттинг-коррозию и имеет длительный срок службы.
Mobilgrease XHP222
3 место
Mobilgrease XHP222
/100
РЕЙТИНГ
100
Mobilgrease XHP 222 – пластичная синяя смазка с увеличенным сроком службы. Изготовлена на основе минерального масла, загущенного литиевым мылом. Работает при температурах до +150 °C, нижняя граница не указана.
Хорошо зарекомендовала себя для обслуживания шкворней, а также других узлов промышленного оборудования и различной техники: строительной, морской, сельскохозяйственной и т.д.
Материал выдерживает воздействие воды и высоких температур, имеет высокиепротивозадирные и противоизносные свойства, защищает от коррозии, имеет высокую адгезию к поверхностям
По характеристикам Mobilgrease XHP 222 не уступает предыдущим материалам только по термостойкости. В остальном же она уступает первым двум материалам по характеристикам.
Литол-24
4 место
Литол-24
/100
РЕЙТИНГ
100
Газпромнефть Литол-24 – антифрикционная литиевая смазка на основе минерального масла. Работает при температурах от -40 до +120 °C.
Используется для обслуживания различных подшипников качения и скольжения, шарниров, зубчатых передач и т.д. в индустриальном оборудовании, колесных и гусеничных транспортных средствах, электрических машинах и др.
Материал выдерживает воздействие воды, защищает от износа и коррозии, отличается механической, химической и коллоидной стабильностью. Он хорошо удерживается на поверхностях и обеспечивает работоспособность даже в сильно изношенных механизмах.
Литол-24 – одна из самых популярных смазок в России и странах СНГ. Ее можно использовать в шкворнях, что и делают многие автовладельцы, но характеристики данного материала не совсем удовлетворяют требования данного узла. По качеству смазка сильно уступает предыдущим материалам.
ТАД-17
5 место
ТАД-17
/100
РЕЙТИНГ
100
Трансмиссионное автомобильное дистиллятное масло. Производится на основе минеральных масел, депрессорных и серо-фосфорных присадок.
Данный материал очень широко используется для обслуживания шкворней. Это обусловлено его дешевизной и доступностью.
Он защищает от коррозии, снижает трение и износ, предотвращает питтинг и заедания. Диапазон рабочих температур составляет от -25 до +130 °C.
Не смотря на положительные стороны применения трансмиссионного масла, минусы все же перевешивают. Сюда относится низкое качество сырья, нестабильные характеристики, необходимость в слишком частом смазывании. Поэтому, гораздо целесообразнее использовать пластичные смазки, которые служат дольше и обладают более оптимальными свойствами.
Требования, предъявляемые к устройству карданных передач
• возможность передачи крутящего момента под большим углом (до 45°);
• передача крутящего момента не должна сопровождаться большими дополнительными динамическими нагрузками в трансмиссии;
• при любых условиях эксплуатации должен обеспечиваться высокий КПД передачи.
Карданные шарниры можно разделить:
• по кинематике на синхронные (равные угловые скорости) и асинхронные (неравные угловые скорости);• по конструкции на полные, полу карданные — жесткие (угол до 2°) и упругие (угол до 12°).
Конструкция карданной передачи ЗИЛ включает в себя:
• промежуточный полый карданный вал, на одном конце которого приварена вилка, на другом — шлицевая втулка;
• скользящую шлицевую вилку;
• карданный вал, на концах которого приварены вилки карданных шарниров;
• три карданных шарнира неравных угловых скоростей, состоящих из двух вилок и крестовины с четырьмя шипами под игольчатые подшипники крепления с вилками;
• промежуточную опору, состоящую из кронштейна опоры, полушки опоры, скобы крепления подушки, шарикоподшипника с гайкой крепления.

Расположение карданных передач на автомобилях:
а — легковом; б — грузовом; — фуэовых повышенной проходимости;1 — коробка передач; 2, 4 и 9 и 11— карданные 3 и 10 — задние ведущие мосты; 5 — промежуточная опора; 6 — раздаточная коробка; 8 — передний ведущий мост.
Трансмиссия автомобиля с полным приводом состоит их нескольких карданных передач с карданными шарнирами неравных угловых скоростей, также существуют карданные передачи с карданными шарнирами равных угловых скоростей, которые установлены в приводе управляемых ведущих колес.
Общее устройство карданной передачи:
Давайте с вами рассмотрим устройство основных частей карданной передачи.
Карданный шарнир неравных угловых скоростей состоит из двух вилок 1, соединенных крестовиной 3. Одна вилка имеет фланец, а другая приварена к трубе карданного вала или выполнена с шлицевым наконечником 6 для соединения с карданным валом. Шипы крестовины устанавливаются в проушины обеих вилок на игольчатых подшипниках 7. Подшипники размещаются в корпусе 2 и удерживаются в проушине вилки с помощью крышки, которая крепится к вилке двумя болтами, со стопорами. В отдельных случаях подшипники закрепляются в вилках. Чтобы в подшипник не попадала грязь и пыль, в нем имеется сальник. С помощью масленки полость крестовины наполняется смазкой, которая в итоге смазывает подшипники. Шлицевое соединение 6 смазывается с помощью масленки 5.
Максимальный угол между осями валов не должен превышать 20°. Это связано с тем, что работа при больших углах значительно снижает КПД использования карданных передач.
Карданные валы выполняются трубчатыми, из стальных цельнотянутых или сварных труб. К трубам привариваются вилки карданных шарниров, шлицевые втулки или наконечники. После сборки карданного вала с карданными шарнирами проводят динамическую балансировку для уменьшения поперечных нагрузок, которые действую на карданный вал. Чтобы устранить дисбаланс к карданному валу приваривают балансировочные пластины.
Карданный шарнир равных угловых скоростей состоит из двух вилок, пяти шариков, штифта, стопорной шпильки. Ведущая вилка изготавливается цельно с полуосью 6, а ведомая вилка цельно с приводным валом 23 колеса. В каждой вилке 3 и 4 имеются четыре канавки, в которых устанавливаются четыре ведущих шарика 7, через которые передается вращение от одной вилки к другой. При любом угле между валами боковые шарики в канавках вилок находятся в плоскости, делящей этот угол пополам, благодаря чему вращение от ведущего вала к ведомому передается равномерно. Центральный (пятый) шарик 2 помещается между торцами вилок и обеспечивает их центрирование. Для возможности установки ведущих шариков в канавки вилок центральный шарик имеет лыску с отверстием, которым он при сборке карданного шарнира устанавливается против вставляемого бокового шарика. После сборки карданного шарнира центральный шарик фиксируется в определенном положении штифтом 6, закрепляемым стопорной шпилькой 5 в отверстии ведомой вилки.

Устройство карданных шарниров равных угловых скоростей: а — шариковый; б — кулачковый; 1 — ведущие (боковые) шарики; 2 — центральный шарик; 3, 4, 7, 11 — вилки; 5 — шпилька; 6 — штифт; 8, 10 — кулачки; 9 — диск.
Карданные валы и вилки изготавливаются из углеродистой, а крестовины — из хромистой и хромоникелевой сталей. Для смазывания карданных передач применяется трансмиссионное масло — нигрол.































